Артикул: 100040233

Споттер TECNA 7630
Артикул: 100040233
5 1 Споттер TECNA 7630

Споттер TECNA 7630

44 900 ₽
-
+
Распечатать
TECNA

Страна производства: Италия

  • Описание
  • Характеристики
  • Вопросы

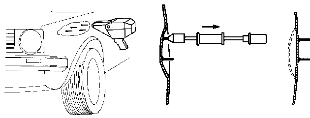
Установка точечной сварки (споттер) TECNA 7630 производства компании TECNA (Италия) предназначена для односторонней контактной точечной сварки встык к листу металла различных крепёжных элементов: шпилек, болтов, шайб, заклёпок, локального нагрева металла специальным электродом, выправления вмятин на деталях кузова автомобиля с помощью ударной насадки.

Установка может опционально укомплектовываться таймером сварки и поставляться как в картонной упаковке, так и в пластиковом кейсе с набором расходных материалов.

Установка точечной сварки (споттер) TECNA 7630 содержит:

  • встроенный источник тока;
  • воздушное охлаждение.

В комплект поставки установки точечной сварки TECNA 7630 входит:

  • ударная насадка;
  • электрод диаметром 2,5 для приваривания гвоздей;
  • электрод диаметром 4 для приваривания болтов;
  • магнитный электрод для приваривания заклепок;
  • электрод для приваривания шайб;
  • расходные материалы.

По специальному заказу дополнительно для установки точечной сварки TECNA 7630 поставляется:

  • вспомогательные инструменты;
  • расходные материалы.

Установка в стандартной комплектации поставляется без таймера. По запросу клиента поставляется версия установки с таймером. Опционально споттер поставляется в пластиковом кейсе с набором расходных материалов.

Выпрямление панелей автомобиля Приварка крепежа шумо-, термо-, вибро-изоляции Приварка заклепок и шпилек
Модель
Споттер TECNA 7630
Номинальная мощность при ПВ50%
0.8
Производитель
TECNA
Ток короткого замыкания, кА
2.5
Тип охлаждения
воздушное
Напряжение питающей сети, В
220
Масса, кг
5
Страна производитель
Италия
Страна производства
Италия
Р
Рутектор

Москва

Уважаемые клиенты! Мы являемся официальными дистрибьюторами продукции TECNA на территории России. Вы можете задать вопрос специалисту или оставить отзыв о товаре. Нам важно знать ваше мнение.

Показано 1 из 1 результатов

Сравнение товаров